The CreativePro Weekly Top 10, vol. 8
1. We begin with a tease of great things to come. At the Adobe SUMMIT 2014 conference in Salt Lake City, a sneak peek of technology in the works revealed an amazing new feature for Illustrator: auto-infographics, wherein a template could be combined with real-time data to make (and update) great-looking infographics on the fly. For more details, check out IT Business Canada.
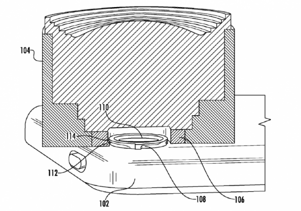
2. And speaking of highly-desirable and currently-unavailable technology, I give you swappable camera lenses for iPhone 6. This one may be a lot less likely to see the light of day than auto-infographics, but it is intriguing that Apple has filed a patent application for a lens attachment mechanism.
3. Here’s some photo technology that does exist: the incredible collection of nearly 10,000 vintage cameras at Collection Appareils. From the Cameras menu you can browse by brand or search. The site also includes lots of other vintage photography goodies like lenses, manuals, accessories, old French postcards, and even a collection of ViewMaster toys.
4. Just in time to freak out your family or co-workers on April Fools’ Day, Instructables has an incredibly convincing head-in-a-jar prank that you can pull off with just a little Photoshop work and, well, a jar.
5. London Typographica is a map and an app (hey, that rhymes), devoted to documenting the typographic landscape of the city on the Thames. Brilliant!
6. Johanna is a font by Adrià Gómez that you can download for free (or name a price you deem fair). It includes 147 glyphs in both regular and italic styles. And yes, it is sexy.
7. Most of the time, the apps on your computer use your system fonts. But apps can sometimes use their own fonts. If you ever wanted to quickly find out what font(s) any app is using, check out this nifty Mac tip from Techinch.com.
8. Need help choosing the right font for a project? Check out Type-Finder, where answering a series of questions can lead you to a great typeface in seconds.
9. If you love the colors in a photo, and would like to save them in a color palette, check out Pictaculous.com. There you can upload a PNG, JPG, or GIF up to 500k. What you get back is a set of sampled colors that you can download as a .aco swatch file to load into Photoshop, plus similar suggested color palettes from Kuler and COLOURLovers.
10. And finally, I feel like I wouldn’t be doing my duty if I didn’t give you something to play with and use up those hours you saved by being so productive the rest of the week. Patatap is a goofy little tool that transforms your keyboard into a musical instrument. Well, it would if you have any musical talent. I don’t, so it turns my keyboard into a cacophonous noise maker. But in the right context that’s fun too. And it sure confuses the heck out of any nearby dogs. Enjoy!
This article was last modified on June 30, 2023
This article was first published on March 27, 2014
Commenting is easier and faster when you're logged in!
Recommended for you
How to Make Two Items Swap Positions in InDesign
Learn how to transpose two objects in InDesign so they swap positions on a sprea...
InDesign Magazine Issue 149: The Accessibility Issue
Issue 149 has articles on Tools and Services for Accessibility, Accessible Color...
InDesign’s Evil Evil Color Picker
MSK wrote:I have noticed, if you choose an object that has been set to a value o...









